当前位置: 首页 > 产品大全 > 光电传感器在自动化生产线计数中的应用原理分析

光电传感器在自动化生产线计数中的应用原理分析

光电传感器在自动化生产线计数中的应用原理分析

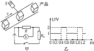
在现代工业生产中,自动化与智能化是提升效率、保证精度的关键。如图甲所示的装置,便是光电传感器在传送带产品运输及计数中的一个典型应用实例。该装置巧妙地将光学检测与电路控制相结合,实现了对产品的自动计数与监控。

其核心工作原理基于光敏电阻R的特性变化:当激光光源S发出的光线未被遮挡时,光线直接照射到光敏电阻R上,此时其阻值较小;而当传送带上的产品经过检测区域时,产品会遮挡住光线,使光敏电阻R处于无光照射状态,其阻值瞬间变大。这种电阻值的剧烈变化,会引起整个电路状态的改变。

电路分析如下:电源电压恒为3V,光敏电阻R与定值电阻R0(200Ω)串联构成一个分压电路。根据串联电路的分压原理,电阻两端的电压与其阻值成正比。

  1. 有光照射时:光敏电阻R阻值小,其两端分得的电压较低,而定值电阻R0两端的电压相对较高。
  2. 无光照射(产品遮挡)时:光敏电阻R阻值急剧增大,其两端分得的电压显著升高,同时R0两端的电压相应降低。

通常,我们会将定值电阻R0两端的电压作为信号输出点。当产品经过,光线被遮挡的瞬间,R0两端的电压会产生一个从高到低的跳变。这个电压跳变信号可以被后级的信号处理电路(如电压比较器、单片机等)捕获,并被识别为一个有效的“计数脉冲”。每产生一个脉冲,计数器就加一,从而实现对产品数量的精确统计。

题目中提及的产品密度(ρ=2.5×10³ kg/m³)和传送带速度(v=0.)等信息,通常用于关联计算产品的质量、生产节拍或与计数频率相互验证,进一步将简单的计数功能拓展为产量计量、流量监控等更复杂的生产管理应用。

此类光电计数装置结构简单、响应速度快、非接触测量,非常适用于高速、连续的流水线作业环境。它不仅是自动化生产线上的“眼睛”,更是实现生产数据化、智能化管理的基础传感器单元,在提高生产效率、降低人工成本方面发挥着不可替代的作用。


如若转载,请注明出处:http://www.qsdfr.com/product/6.html

更新时间:2026-05-04 09:16:32